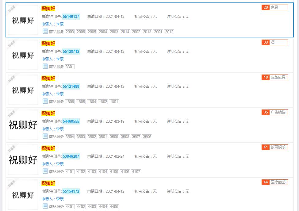
电视剧《祝卿好》商标已被抢注,分类涉及不同
10154
0
2022/04/19
《祝卿好》是由爱奇艺、坦当文化联合出品,朱少杰执导,袁冰妍、郑业成领衔主演,米热、张月、杨志雯、郭笑天等主演的古装爱情剧。该剧改编自伊人睽睽所著的小说《我的锦衣卫大人》,讲述了刁蛮娇憨又霸道的长乐郡主刘泠,偶遇武功高强的冷峻金麟卫沈宴,展开花式追逐的故事
作为一名知识产权从业者,一品知识产小编也怀着好奇心查询了一下“祝卿好”商标注册情况。经查,目前“祝卿好”商标状态显示待审查中

小知识:
商标要想得到充分的保护,很多方面都是需要注意的,不然就会在不经意间商标失效。这时候就要谨防被提撤三。注册商标连续三年不使用且没有正当理由的,任何人都可以对该商标提出撤销申请,所以要想避免这样的风险,各位在拿到商标注册证的时候就应该开始使用商标,并且保护相关的使用证据。
还有不能随意改变。注册商标的样式是不能随意改变的,在使用时必须要确保和注册时的商标一致,只能按照比例放大缩小。同时如果商标的归属权或在公司地址发生了改变,那么应当去商标局进行商标变更。
新用户注册免费领取888元https://www.epbiao.com/topic/xinren/
免费查询商标:https://www.epbiao.com/zt/sbcx17/
商标注册费用:https://www.epbiao.com/feiyong/
热门评论