“InterVapor”商标注册成功,分类涉及不同,堃博医疗热蒸汽治疗系统InterVapor获批上市
12226
0
2022/03/23
堃博医疗公告,公司热蒸汽治疗系统InterVapor(包含热蒸汽治疗设备及一次性使用经支气管内窥镜热蒸汽治疗导管,简称:InterVapor)获得国家药监局(NMPA)批准上市,标志着这款产品在中国商业化落地。
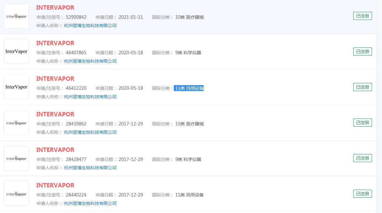
作为一名知识产权从业者,一品知识产小编也怀着好奇心查询了一下“InterVapor”商标注册情况。目前商标状态显示成功注册,可见官方商标保护意识强烈,分类涉及不尽相同, 11类 民用设备, 10类 医疗器械等等

首先来进行跨类别、行业与区域的保护,这是最直接也是最基本的保护策略,可以有效的杜绝他人蹭热度,全类别注册可以避免他人在其他类别上注册相同或近似的商标。另外考虑到将来可能从事的行业并提前进行商标注册,避免在以后涉及时无商标可用。
跨区域保护的范围有点大,因为商标的保护是分区域的,在我国注册的商标,在其他国家不能使用,如果想要在国外使用在国内的商标,就必须去相应的国家进行商标注册。这就是商标的区域限制,也是为了每个国家的市场秩序。
其次就是商标的显著性,虽然注册商标需要具备显著性,但是企业也可以通过广告宣传,提高商标在大众生活中的曝光率,增强商标的显著性。
最后则是加强对商标的管理以及积极维权。企业需要重视商标的监管,防止有人提出撤三或有侵权行为。当遇到有侵权行为或近似商标申请时,要及时维权。
除了上面所列出来的一些事项,还需要对商标的信息有所管控,商标信息的变更需要去商标局进行变更,还有关于商标续展问题也要一并记住,规定的时间就要去续展维持商标的有效期。
免费查询商标:https://www.epbiao.com/zt/sbcx17/
0
热门评论