陈奕迅“孤勇者”,听哭2亿网友,孤勇者商标,状态显示申请中
18876
0
2022/03/22
陈奕迅一首歌听哭2亿网友
一夜播放量破2亿。
连续数月霸榜网易云热歌榜第一。
一度包揽QQ音乐热歌榜和酷狗音乐TOP500冠军。
这便是陈奕迅的新歌《孤勇者》,一出即成“王炸”。
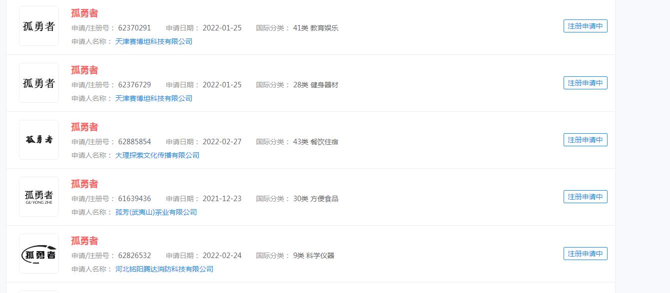
作为一名知识产权从业者,一品知识产小编也怀着好奇心查询了一下“孤勇者”商标注册情况。不查不知道,一查吓一跳,原来早就有很多企业和自然人在注册“孤勇者”,分类涉及众多,不过目前商标状态都是显示申请中

企业注册新商标的目的一定是在为今后的事业做准备,作为网络热门词汇,现在是否能够得到商标局的核准还为未可知,等到商标核准之后,企业就可以着手去尝试与其相关的业务了。
新用户注册免费领取888元https://www.epbiao.com/topic/xinren/
免费查询商标:https://www.epbiao.com/zt/sbcx17/
热门评论