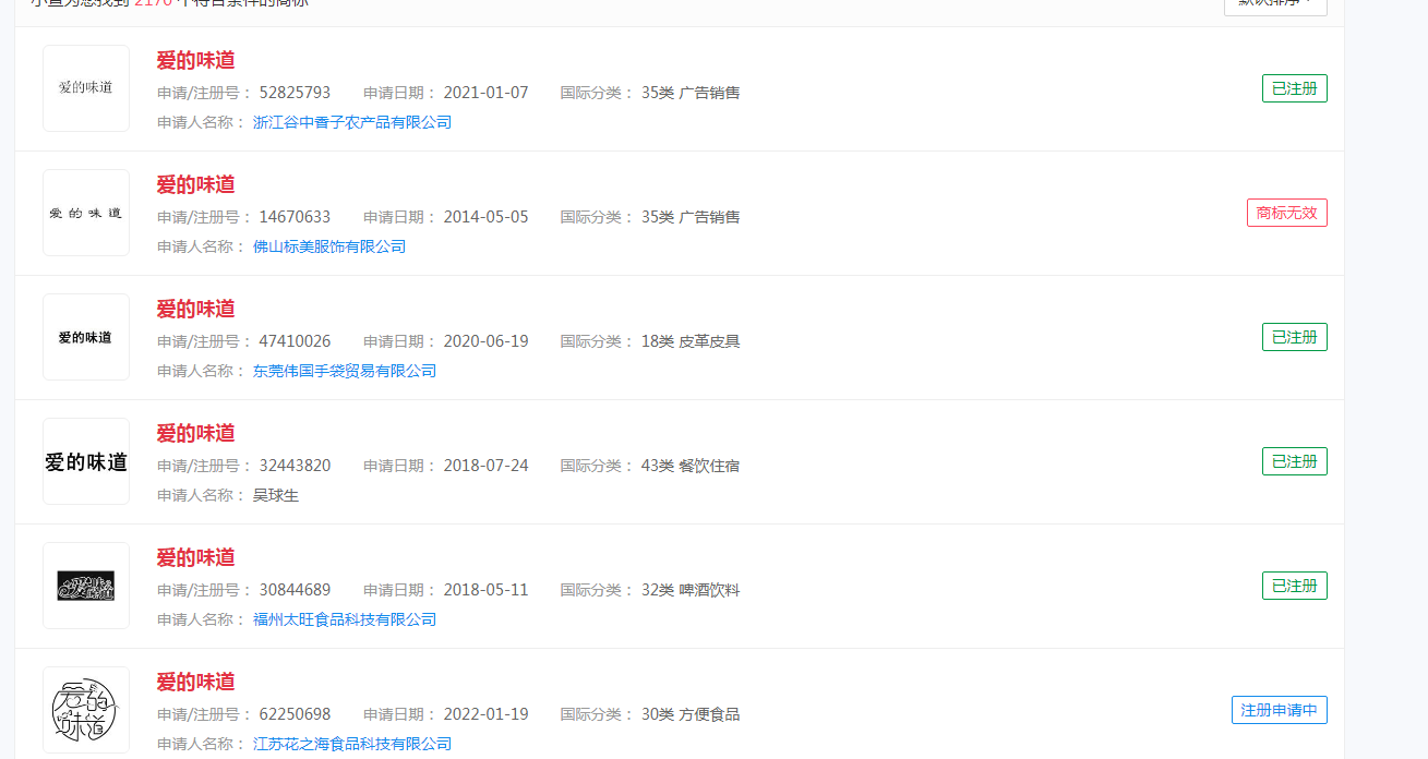
“爱的味道”商标被抢注,分类不尽相同
10329
0
2022/03/07
由山东卫视与愚恒影业集团、霍尔果斯黑莓文化有限公司联手打造的全新家庭情感互动美食治愈真人秀《爱的味道》第三季第三期即将播出。本期节目,美食心愿官刘仪伟和吴思嘉将迎来一位伟大的父亲和他的儿子。
作为一名知识产权从业者,一品知识产小编也怀着好奇心查询了一下“爱的味道”商标注册情况。不查不知道,一查吓一跳,原来早就有很多企业和自然人早早就将“爱的味道”注册商标了。分类涉及众多

温馨提示
我国的商标注册时间需要一年,进行中要是遇到异议或者驳回等问题,可能还要往后延伸一段时间才能完成注册,甚至如果没有答辩成功,可能这件商标就无法获得核准了。
新用户注册免费领取888元https://www.epbiao.com/topic/xinren/
免费查询商标:https://www.epbiao.com/zt/sbcx17/
热门评论