电影《听风者》已注册商标,,注册人不是出品方
15880
0
2022/02/26
《听风者》是美亚电影制作有限公司出品的谍战电影,该片改编自麦家的原著小说《暗算》,由麦兆辉、庄文强执导,梁朝伟、周迅、王学兵等主演。该片讲述了解放初期,国民党残余敌特人员意图颠覆新政权,为监听敌台而设立的神秘部队701陷入了空前危机。在这场看不见的战斗中,演绎着一场腥风血雨的谍战传奇
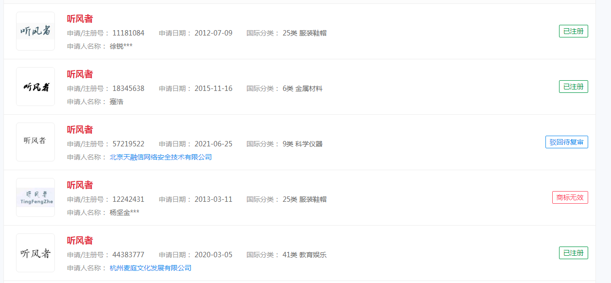
作为一名知识产权从业者,一品知识产小编也怀着好奇心查询了一下“听风者”商标注册情况。不查不知道,一查吓一跳,原来早就有很多企业和自然人早早就将“听风者”注册商标了。分类涉及众多

温馨提醒:
商标注册其实在现在的社会中已经是非常常见的了,但是企业仍旧会遇到各种各样的问题,所以在注册中要注意的点也是不能忽略的。首先,企业在初创时不光是在商标,域名、版权、专利等方面也要尽量做到全面保护。不要等到自己发展好才开始保护,那个时候可能已经被他人抢注了。
其次是规范使用。合理规范的使用可以使商标价值更高,因为合理规范使用才能让商标使用的更久,商标越久就越值钱。所以在使用商标时,一定要按照规范使用,注册商标是什么样子就以什么样子使用,不能擅自改变商标的字体、文字或图案等。
此外还应该进行商标监控。不仅要尽早注册商标,在商标注册成功后,时刻留意竞争对手的动态,如果出现近似商标或侵权行为,要及时制止并采取补救措施,避免给企业带来更大的伤害,商标权人一定要用自己已有的商标权来捍卫自己的商标权益。
对于企业来说,商标是很重要的一项,其具有传递信息的功能,是企业的形象和信誉的表现,是企业重要的无形资产之一。如果企业能够对商标进行有效的保护和合理的利用,商标的发展前途将不可限量。
热门评论