传承岭南文化 电视剧《郁郁葱葱》杀青,郁郁葱葱商标已被注册,分类涉及众多
14928
0
2022/02/17
《郁郁葱葱》是由吴斌执导,杨烁,张翰,郭晓婷,曹骏,于震领衔主演的电视剧
电视剧《郁郁葱葱》由高满堂担任总编剧,吴斌、郝万军执导,柳桦担任编剧,杨烁、张翰、郭晓婷、曹骏、于震领衔主演,李乃文、潘雨辰、赵恒煊特邀主演,最终演绎出这部堪称粤版《清明上河图》的电视剧。
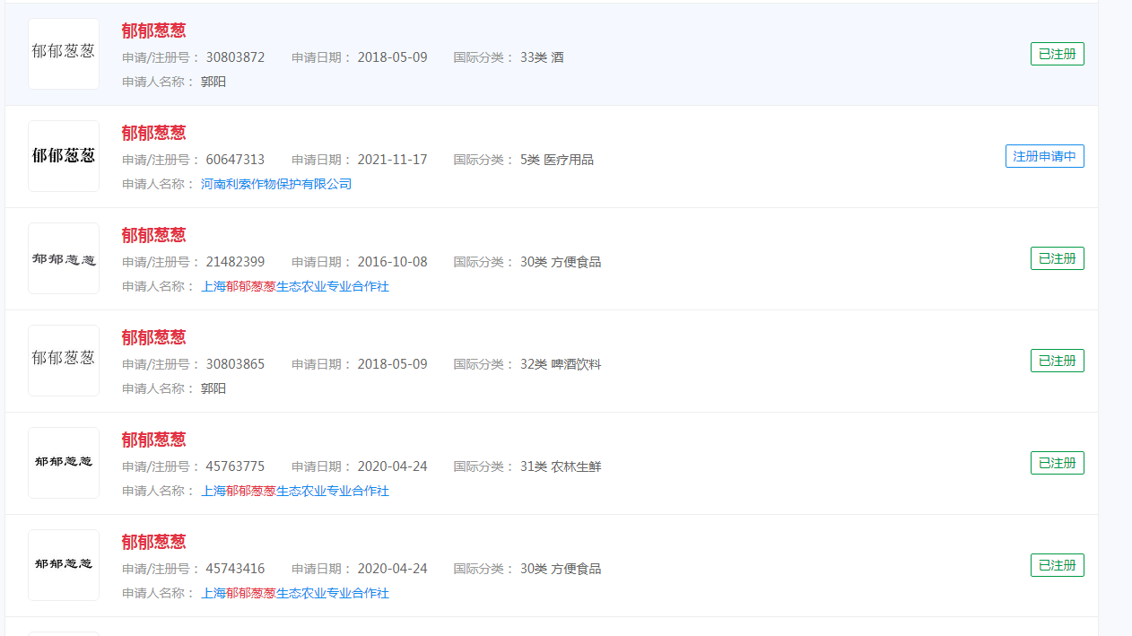
不过,作为从事知识产权行业的一名工作人员,比较关注的是“郁郁葱葱”一词是否注册了商标。出于好奇心,一品知产一查得知:郁郁葱葱已被申请商标,分类涉及众多

其实企业对于这些商标的注册,想要全类别注册就是对商标最全面的保护,但恰恰这也是不容易的。首先需要足够的经济条件,再者还要确保商标在不同的类别都还是没有被注册的。这两种标准就已经很难达成了,所以在全类别注册的同时,也不要忘记将其运营成为驰名商标,还能跨类别保护。
热门评论