电影《狙击手》已被注册商标,涉及多种分类
19695
0
2022/02/16
《狙击手》是由张艺谋、张末执导,陈永胜、章宇、刘奕铁、黄炎、王梓屹、陈铭杨、王乃训、程泓鑫出演,张译、林博洋特别演出的抗美援朝影片。该片以抗美援朝战争中的“冷枪冷炮运动”为背景,讲述了中国志愿军在敌我军备力量悬殊的境地下,与美军精英狙击小队展开殊死较量的故事。
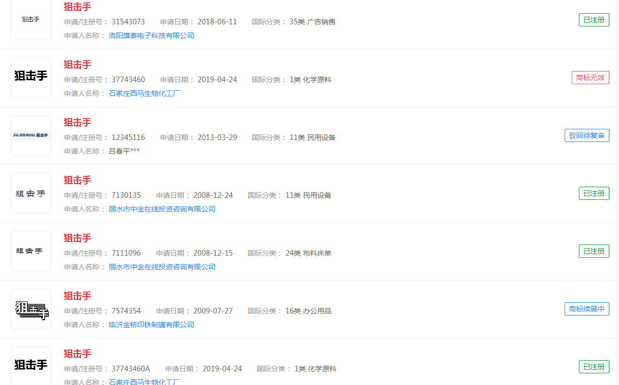
作为一名知识产权从业者,一品知识产小编也怀着好奇心查询了一下“狙击手”商标注册情况。通过商标查询发现:狙击手被企业和自然人申请了商标,分类不尽相同

看来商标保护确实在每一个行业都是很重要的,有些商标的申请是在一开始就应该注册的,而不是等待时间注册。毕竟先注册占据的优势也多,要是不能全类别注册,也可以选择合适的类别进行注册,关联性大的类别先注册等,总归这对于企业还是有好处的,关于注册商标这一点应该铭记。
热门评论