“彩礼”商标申请成功, #女生结婚一定要彩礼吗#
11568
0
2022/02/14
导语:你觉得彩礼应该是结婚的门槛吗?作为女生你认为彩礼是一定要的吗?

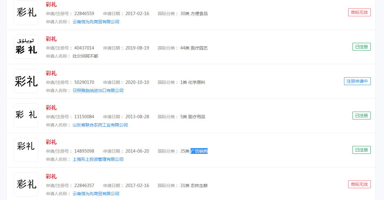
作为一名知识产权从业者,一品知识产小编也怀着好奇心查询了一下“彩礼”商标注册情况。不查不知道,一查吓一跳,原来早就有很多企业和自然人早早就将“彩礼”注册商标了。分类涉及广告销售; 医疗园艺,当然也有被驳回的基多

随着知识产权日渐得到重视,很多企业为了注册相关的商标准备的措施也多了起来,而且从日以数计的注册商标来看,显然后期对于相关商标的一系列规定也是很值得了解的。只有了解相关法律对于不同方面的规定,企业才能在市场中注册商标增加核准的概率。
热门评论