“小敏家”已申请商标注册,分类涉及广
17700
0
2021/12/15
导语:《小敏家》有的孩子被满满爱意包围,有的孩子为了被爱小心翼翼,原生家庭的影响有多大?随着小敏家的热播,作为一名知识产权从业者,一品知识产小编也怀着好奇心查询了一下“小敏家”商标注册情况。不查不知道,一查吓一跳,原来早就有很多企业和自然人早早就将“小敏家”注册商标了。
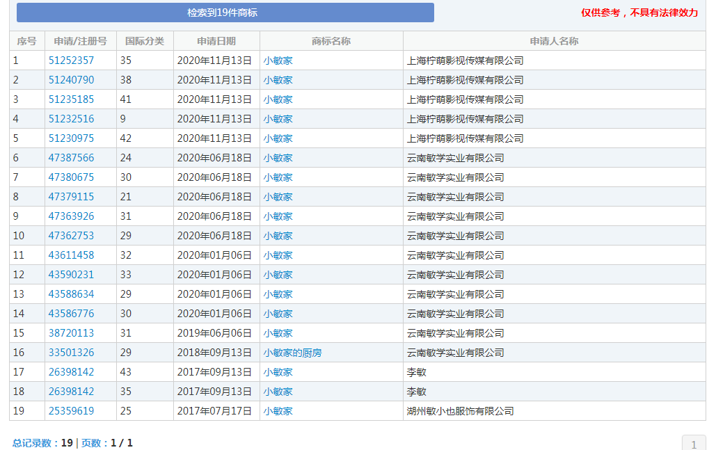
通过商标查询,可检索到19件商标,这些商标的申请人有企业如湖州敏小也服饰有限公司, 云南敏学实业有限公司,上海柠萌影视传媒有限公司等等。其中有注册成功的也有等待实质审查的,可见在知识产权方面来说,企业尽早注册相关的商标是对自身的保护,也是为了将有效的商标为己所用。

热议话题延伸
#原生家庭对孩子性格的影响有多大# 、#IP生长合伙人计划# 有的孩子被满满爱意包围,有的孩子为了被爱小心翼翼,原生家庭的影响有多大?不同的原生家庭带来的就是不同性格的孩子

热门评论