#风起洛阳到底谁是主角#中的“风起洛阳”类似的商标注册了几个呢?
15516
0
2021/12/06
#风起洛阳到底谁是主角#
导语:这部剧没看过的小伙伴,看营销,都不知道黄轩和宋茜是主角!
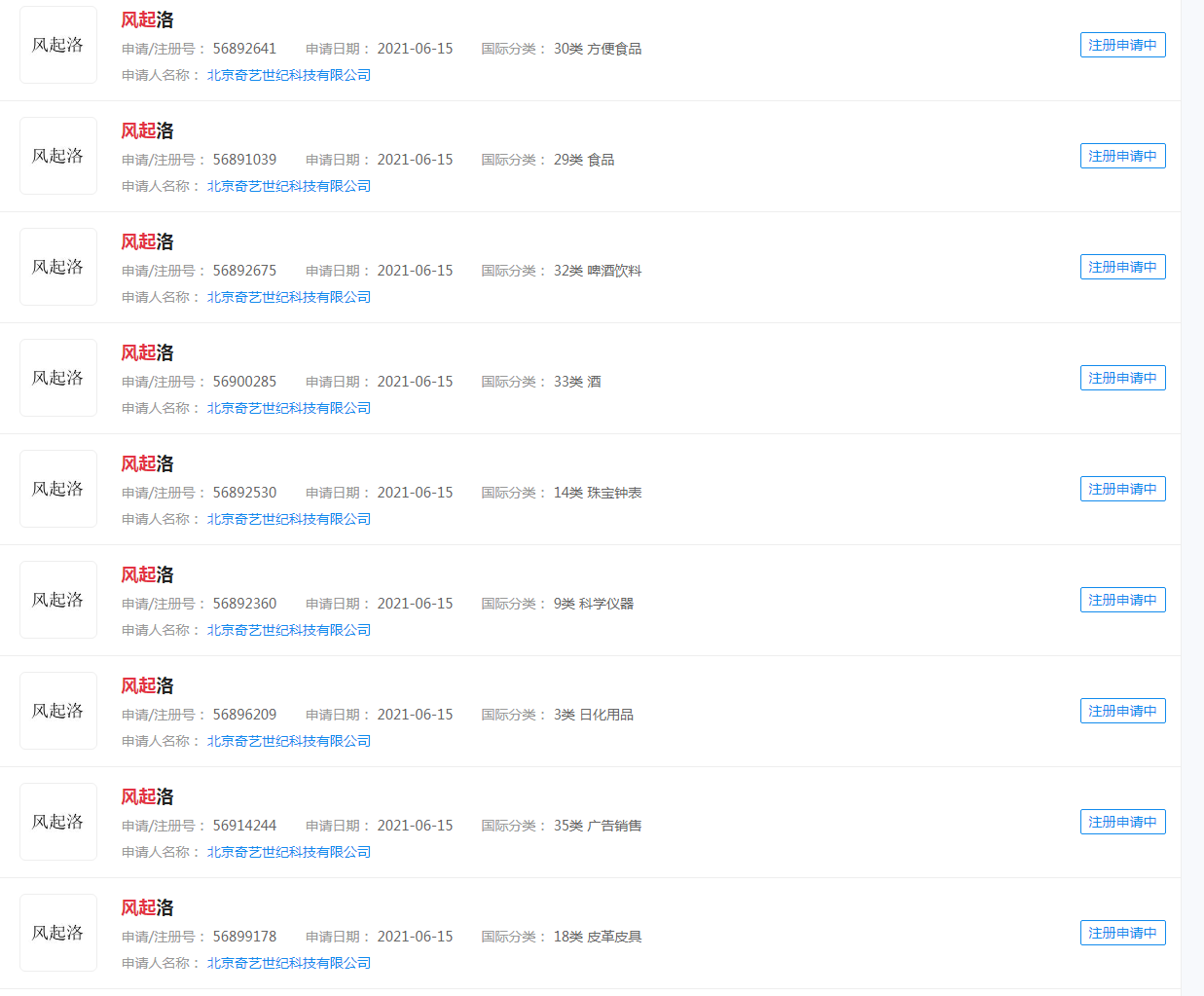
《风起洛阳》自上线以来,首周播出热度好评不断,镜头极富美感,布景真实精致,彰显风云古都底蕴,节奏紧凑,小分队探案拌嘴逗趣,亦分亦合。那么我们来看看风起洛阳总共注册了哪些类别的商标呢?根据小编查询,风起洛阳类似商标总共注册了29个类别的商标,全部都是由北京奇艺世纪科技有限公司注册的,
由此可以看出新商标的注册往往是新商品以及新服务的产生,很多企业在自己的商品或是服务还没有面向大众的时候就已经申请的商标,这样一来也是防止商标被抢注的目的,而这样的现象随着效果比较显著,所以很多的企业就开始了对商标的率先注册。下面我们来看看注册哪些新的类别吧


资料延伸
风起洛阳官微公布三大领衔主演,领衔男主演:黄X、王XX。领衔女主演:宋X。都是主演,且顺序清晰,在内涵谁是配角?
看一部剧我们不会先去讨论谁是主角,而是剧到底好不好看。主角的演绎当然会直接影响一部剧的精彩程度,但剧情制作都在线的情况下,我们似乎不是那么关注主角是否是一线还是十八线。
诚然,在黄轩等专业演员的对比下,王一博、宋茜作为跨界偶像,台词和演技确实青涩不少。但在整部剧紧张的节奏中和精美的道具画面前,我觉得瑕不掩瑜。
比如这场婚礼戏,我反复看了两遍,好奇心的驱使下让我去了解唐制婚礼。和现代人头脑中认为的结婚礼服不同的是,在唐代,女子的婚眼不是红色的,而是青缘色,反倒是新郎穿蝶红色的礼腿。男服绯红,女服青绿,这种婚礼服饰既融合了先前的庄重神圣又 结合了热烈喜庆的气氛,显示出座容华责的大唐气象,所谓“红男绿女”是也。“红男绿女”一词就从唐代的婚服礼制用语中流传下来,被现代人用来形容光鲜亮丽的男男女女了。此礼之大体也。
通过古装剧能弘扬中国文化,讲好中国故事,我觉得在这一点上,这部剧是成功的。
热门评论